Esqueça o iPhone Flip e Fold, Apple Registra Patente para Telas Esticáveis
A Apple acaba de registrar uma patente para uma nova tecnologia de display: uma tela que pode se esticar, também conhecida como telas esticáveis. Esta patente, número US 20240210995 A1, pode representar uma mudança significativa das telas dobráveis e flipáveis para novas possibilidades de design para iPhones, iPads, Macs, Apple Watches e até Apple Vision Pros.
Atualmente, a maioria das telas, incluindo as dos iPhones e iPads, são feitas de vidro rígido, o que limita suas formas. Muitas empresas, como Samsung e Google, têm explorado telas dobráveis há alguns anos, mas elas têm suas limitações.
Vantagens das Telas Esticáveis 🌟
A junção/dobra é visível nessas telas, não quando você olha perpendicularmente, como geralmente fazemos, mas qualquer ligeira variação no ângulo de visão torna a dobra visível, o que pode ser frustrante para alguns. A patente da Apple descreve uma tela que pode ser esticada graças a uma combinação inteligente de componentes rígidos e flexíveis.
Rumores e Expectativas 📅
As discussões sobre os iPhones dobráveis ressurgiram após a revelação de que a Apple adiou o lançamento devido a “requisitos rigorosos” para a resistência à dobra, com previsão de lançamento para 2027. No entanto, alguns rumores sugerem que a Apple lançará um “híbrido dobrável” em 2025, seguido por iPhones dobráveis em 2026. No mês passado, surgiram mais rumores sobre a Apple trabalhando em uma tela dobrável de 20 polegadas “sem dobras”.
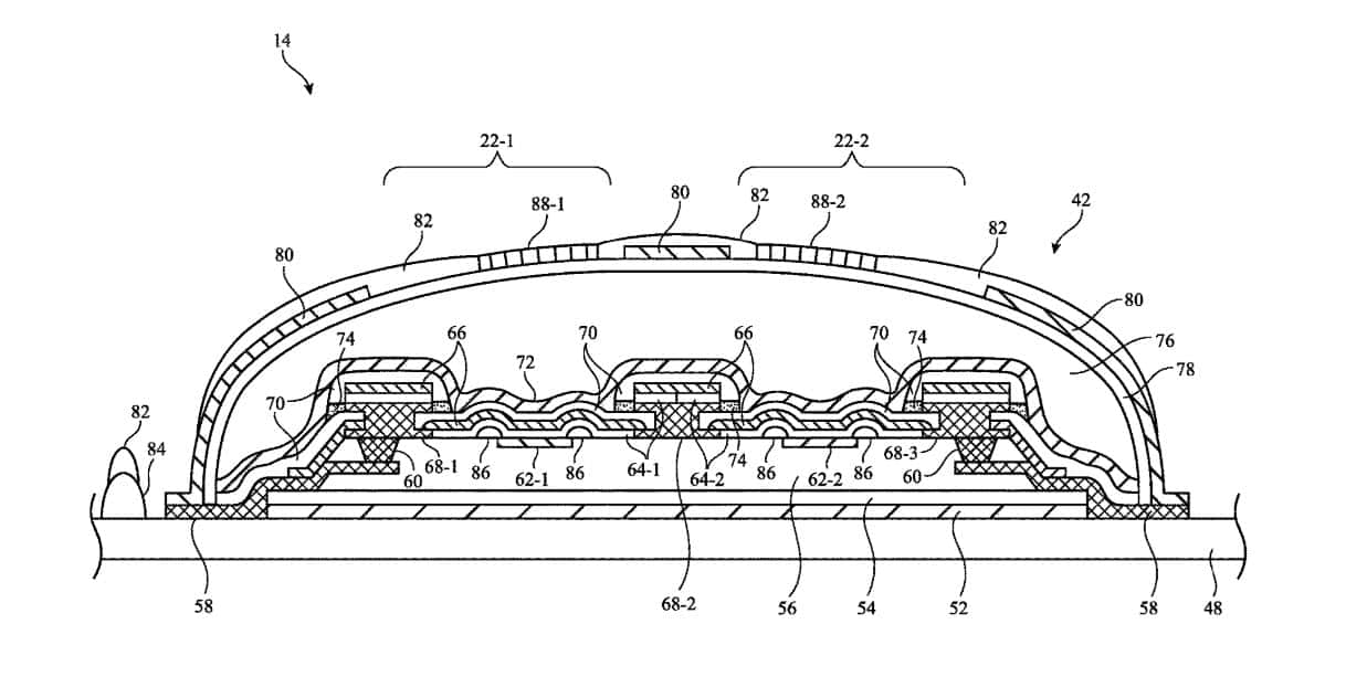
Como Funcionaria? 🤔
Pense em uma tela de telefone que se expande para revelar mais conteúdo quando você precisa, como, por exemplo, para ver uma foto panorâmica ou uma longa lista de itens. Em vez de uma única folha de material, a tela teria muitas “ilhas” rígidas contendo os pixels conectadas por um material altamente esticável. Isso permitirá que a tela geral se estique sem danificar os delicados pixels.

Desafios e Soluções 💡
A patente também fala sobre soluções para desafios potenciais, como manter as conexões elétricas e evitar vazamentos de luz durante a esticagem. Você pode ler mais detalhes sobre isso aqui.
É importante notar que esta é apenas uma patente, e não há garantia de que a Apple trará uma tela esticável ao mercado. Encontramos essa informação no Apple World Today.
Fique ligado para mais novidades e prepare-se para as inovações que podem estar a caminho! 🌟📱




